光控端子收料機使用說明
晉志德光控端子收料機外形美觀,結構合理,采用無段變速式收料,日本進口光眼控制收取,自動化程度高,可根據產品自動調整,速度平穩、收料整齊,完全不灼傷端子,同時有順時針、逆時針兩種收取回轉方向,加裝計數器,可根據要求數量設定,能大的提高沖壓生產效率降低生產成本。
1、光控端子收料機安裝
(1)安裝位置
a、置于沖床出料口處(距沖床1-2m),并確保與沖床在同一直線上。
b、確定收料機實際放置位置后,請將端子收料機下端轉向導輪踏下剎車。
(2)外部連接方式
a、電源連接:收料機出廠時預留4C×1.25×5mm的電源線,請先確認使用電壓(收料機標準輸入電壓為單相22V),確認無誤后將插頭接上電源線,并接上電源。
b、沖床連接:為沖床連接線同步之電線2C×1.25×5mm接上沖床緊急停止。
2、端子收料機運轉檢驗
(1)請先確定端子收料機控制面板,電源開關切于關(OFF)位置,再將電源接上后,再將電源打開。
(2)請先啟動寸動開關,并利用一小段層間紙將層間感應器隔開。
(3)再將面板上搖頭開關切于正轉,此時收料輪盤應緩緩順時轉動,切于反轉則動作相反。
(4)再次切換自/手動開關,此時再用手緩緩貼近光電開關,此時收料盤會依手的遠近來調速。
特別注意:
如果層間感應器測試中沒有利用層間紙隔離,上述一切動作將不會連作。
3、端子收料機上線
(1)切換電源開關至ON位置。
(2)收取盤調整至合適的位置。
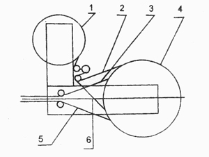
(3)收料機紙帶的行徑路線及收料端子的收取路線請依照下圖參考調整:

a.紙帶盤 b.紙帶 c.端子帶 d.端子帶 e.端子帶 f.紙帶
當端子輪順時針旋轉時,纏繞方向按b.c調整
當端子輪順時針旋轉時,纏繞方向按e.f調整。
文章發表:http://m.jzjxjy.net.cn/news_shouliaoji.html




